Relays for 2007 Dodge Ram 2500
No.
Part # / Description / Price
Price
N/A
Relay
Mopar
Mopar Notes: Engines: 6.7L I6 CUMMINS TURBO DIESEL ENGINE.
Description: With bracket electronic stability
1
1
1
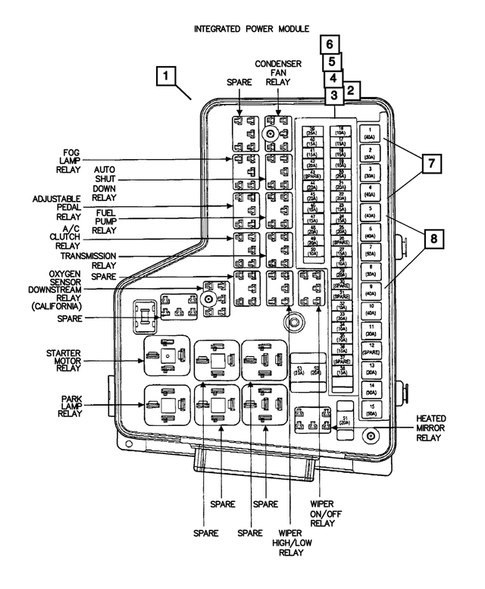
Totally Integrated Power Module, Remanufactured 1
Mopar
Mopar Description: TOTALLY INTEGRATED POWER
MSRP $1,820.00
$1,188.10
MSRP $1,820.00
$1,188.10
3
MSRP $3.70
$2.60
4
MSRP $3.55
$2.48
5
MSRP $3.70
$2.60
6
MSRP $3.70
$2.60
1 This price excludes a refundable manufacturer's core charge. Add the part to your cart to see the core charge.
