Rear Suspension for 2006 Chrysler Sebring
No.
Part # / Description / Price
Price
1
Control Arm, Upper Left
Mopar
Mopar Description: After 12-4-03 or Control Arm Mounting Holes are 156.7 mm apart
1
Control Arm, Upper Right
Mopar
Mopar Description: After 12-4-03 or Control Arm Mounting Holes are 156.7 mm apart
6
Hex Flange Head Screw
Mopar
Mopar Notes: Engines: 2.0L I4 DOHC 16V SMPI ENGINE. 2.4L I4 DOHC 16V SMPI ENGINE. ALL 4 CYL GAS ENGINES. ALL V6 ENGINES.
Description: M14x2.00x80.00
9
Rear Suspension Crossmember
Mopar
Mopar Description: Up to 12-2-03 or Control Arm Mounting Holes are 164.6 mm apart
9
Rear Suspension Crossmember
Mopar
Mopar Description: After 12-4-03 or Control Arm Mounting Holes are 156.7 mm apart
12
Hex Flange Lock Nut, Mounting
Mopar
Mopar Description: M12x1.75. Engine Mount To Engine Mount Bracket
MSRP $3.55
$2.48
MSRP $3.55
$2.48
13
19
Tie Rod End Package, Drag Link
Mopar
Mopar Notes: Engines: 2.0L I4 DOHC 16V SMPI ENGINE. 2.4L I4 DOHC 16V SMPI ENGINE. ALL 4 CYL GAS ENGINES. ALL V6 ENGINES.
Description: When stock is exhausted order 52122362AA Rod & Link Assy. & 52122370AA Damper Assy.
MSRP $6.45
$4.60
MSRP $6.45
$4.60
26
Hex Head Bolt, Mounting
Mopar
Mopar Description: M6X1.00X11.00. Ground Strap to Urea Tank Crossmember
MSRP $6.00
$4.24
MSRP $6.00
$4.24
No.
Part # / Description / Price
Price
1
Hex Flange Lock Nut, Mounting
Mopar
Mopar Description: M10x1.50. Drive Shaft Center Bearing to Center Bearing Bracket
MSRP $6.75
$4.90
MSRP $6.75
$4.90
4
MSRP $12.10
$8.71
6
Shock Absorber Rod Collar
Mopar
Mopar Notes: Engines: 2.0L I4 DOHC 16V SMPI ENGINE. 2.4L I4 DOHC 16V HO TURBO ENGINE. 2.4L I4 DOHC 16V SMPI ENGINE. ALL 2.0L I4 ENGINES. ALL 4 CYL GAS ENGINES. ALL V6 ENGINES.
15
Hex Flange Head Bolt, Mounting
Mopar
Mopar Description: M12X1.75X45.00. Power Take Off Unit To Transmission Bracket
MSRP $6.80
$4.78
MSRP $6.80
$4.78
2 This part contains hazardous materials. Extra shipping costs apply.
No.
Part # / Description / Price
Price
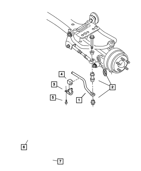
1
Rear Sway Bar
Mopar
Mopar Notes: Engines: 2.0L I4 DOHC 16V SMPI ENGINE. ALL 4 CYL GAS ENGINES. ALL V6 ENGINES.
1
Rear Sway Bar
Mopar
Mopar Notes: Engines: 2.4L I4 DOHC 16V SMPI ENGINE. ALL 4 CYL GAS ENGINES. ALL V6 ENGINES.
4
Stabilizer Bar Bushing
Mopar
Mopar Notes: Engines: 2.4L I4 DOHC 16V SMPI ENGINE. ALL 4 CYL GAS ENGINES. ALL V6 ENGINES.
Description: 17MM DIA STABILIZER BAR
4
Stabilizer Bar Bushing
Mopar
Mopar Notes: Engines: 2.0L I4 DOHC 16V SMPI ENGINE. ALL 4 CYL GAS ENGINES. ALL V6 ENGINES.
Description: 15MM DIA STABILIZER BAR
5
Hex Head Screw And Washer
Mopar
Mopar Notes: Engines: 2.7L V6 DOHC 24 VALVE FFV ENGINE. 2.7L V6 DOHC 24 VALVE MPI ENGINE. ALL V6 ENGINES.
Description: M8x1.25x35. Used up to 11/06/2013 with transmission 68220733AH only
MSRP $3.10
$2.18
MSRP $3.10
$2.18



